Solutions
Biogas Solutions for Sewage and Sludge Treatment
Biogas Solutions for Sewage and Sludge Treatment
Our biogas project solutions are designed to convert organic waste from sewage and sludge treatment processes into renewable energy. By integrating anaerobic digestion systems with wastewater treatment plants, we help clients reduce sludge volume, lower disposal costs, and generate usable biogas for power or heating.
These solutions are widely applied in municipal wastewater treatment plants, industrial parks, and large-scale environmental protection projects.
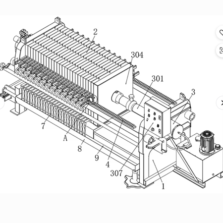
Supporting Parts Solutions for Sewage Treatment Systems
Supporting Parts Solutions for Sewage Treatment Systems
We provide complete supporting parts solutions for sewage treatment projects, including structural components, connection systems, auxiliary equipment, and customized accessories.
All supporting parts are engineered to ensure compatibility with different treatment processes and equipment, helping improve system stability, installation efficiency, and long-term operational reliability.
Integrated Sludge Treatment and Management Solutions
Our sludge treatment solutions focus on volume reduction, dewatering efficiency, and safe disposal or reuse. By combining mechanical treatment and process optimization, we help clients reduce operating costs and improve overall plant performance.
These solutions are suitable for municipal sewage plants, industrial wastewater facilities, and environmental engineering projects requiring efficient sludge management.
Integrated Sludge Treatment and Management Solutions
Our sludge treatment solutions focus on volume reduction, dewatering efficiency, and safe disposal or reuse. By combining mechanical treatment and process optimization, we help clients reduce operating costs and improve overall plant performance.
These solutions are suitable for municipal sewage plants, industrial wastewater facilities, and environmental engineering projects requiring efficient sludge management.
Complete Sewage Treatment Equipment Solutions
Complete Sewage Treatment Equipment Solutions
We offer complete sewage treatment equipment solutions for municipal and industrial wastewater treatment applications. From primary treatment to advanced processing stages, our systems are designed for stable operation and compliance with discharge standards.
Each solution can be customized according to water quality, treatment capacity, and project conditions, ensuring reliable performance throughout the project lifecycle.
RO Reverse Osmosis Solutions for Water Purification and Reuse
RO Reverse Osmosis Solutions for Water Purification and Reuse
Our RO reverse osmosis solutions are designed for advanced water purification, desalination, and wastewater reuse applications. The system effectively removes dissolved salts, organic matter, and impurities to produce high-quality water.
RO solutions are widely used in industrial water supply, process water treatment, and water recycling projects where stable output and low operating costs are required.
Get A Free Quote
Our experts are online 24/7 and will contact you within 12 hours.